Item available in 12 variants:
Price and stock visible after login
Description
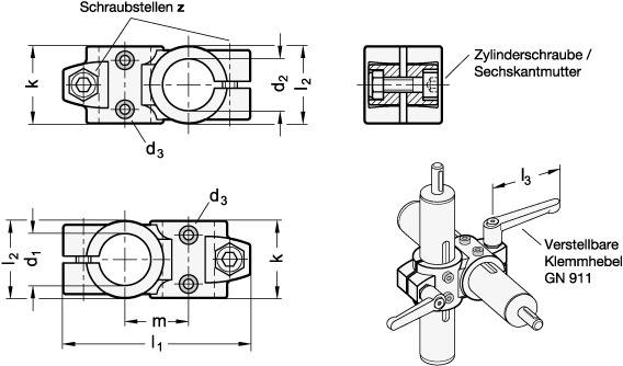
Two-way linear actuator connectors GN 132.2 are based on two-way connector clamps. The additionally provided mounting holes are used to connect to the drive key of a linear actuator. Bores with the designation “G” are equipped with sleeve bearings. With the screw locations z, the play of the guide bores d1 / d2 can be adjusted or the linear actuator connectors can be clamped after adjustment. For quick clamping without tools, the socket cap screws can be replaced by the adjustable hand levers GN 911 listed in the table as accessories.
Attributes
Code number
2 - with 2 stainless steel cylinder screws ISO 4762
L1
97
L2
40
Material
AL - Aluminium
Recommended accessories clamping lever GN 911 for zl3
63 | 78
RoHS
Ja
Surface
S - black, RAL 9005, textured matt
Weight
0.168 kg
d1 - d2
G30 - G30
d3 BefestigungsschraubenamMitnehmer
M 4
d3 Fastening screws on driver
M 4
k Clamping length
40
m
33
z Bolting points
M8-25






