Item available in 12 variants:
Price and stock visible after login
Description
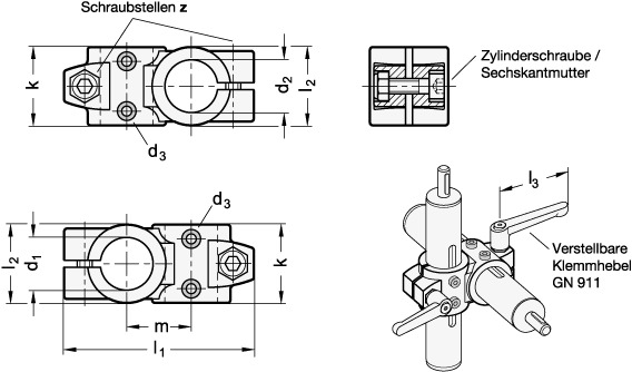
Two-way linear actuator connectors GN 132.2 are based on two-way connector clamps. The additionally provided mounting holes are used to connect to the drive key of a linear actuator. Bores with the designation “G” are equipped with sleeve bearings. With the screw locations z, the play of the guide bores d1 / d2 can be adjusted or the linear actuator connectors can be clamped after adjustment. For quick clamping without tools, the socket cap screws can be replaced by the adjustable hand levers GN 911 listed in the table as accessories.
Attributes
Code number
2 - with 2 stainless steel cylinder screws ISO 4762
L1
143
L2
65
Material
AL - Aluminium
RoHS
Ja
Surface
S - black, RAL 9005, textured matt
Weight
0.834 kg
d1 - d2
G40 - G40
d3 BefestigungsschraubenamMitnehmer
M 5
d3 Fastening screws on driver
M 5
k Clamping length
65
m
53
z Bolting points
M10-50






