Producten
02:00:55
Besteltijd voor pakketverzending vandaag
Ganter

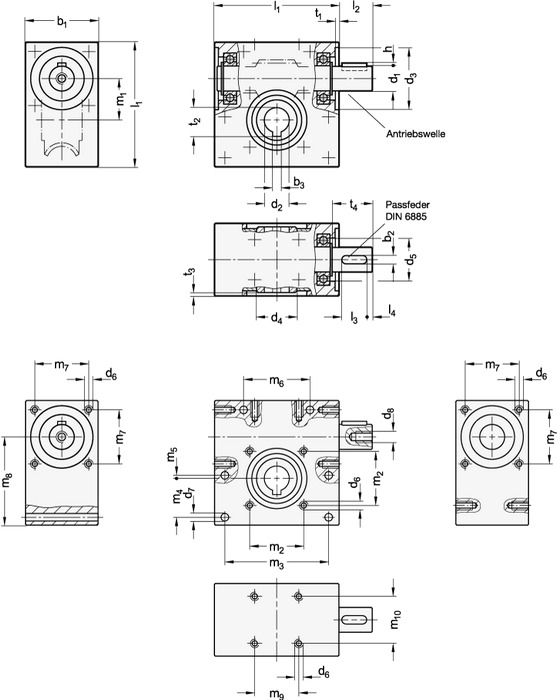
Wormwielkast GN 3975-20-A-12-13-AN


Pakketgeschikt
Artikel in 32 varianten beschikbaar:

Beschrijving
Worm gear reducer GN 3975 can transmit high torque despite their very compact dimensions. They can readily be used for a multitude of applications, such as incline adjustments or to change the direction of shaft rotation. The numerous fastening holes allow for simple mounting in any orientation or position. The parallel keys can take any angular positions. Depending on the gear ratio, there may be no static self-braking between the worm screw and worm wheel, meaning that the worm wheel can be turned out of a resting state by a torque coming from the output end.